技術規格
1103 和 1104E 發動機
DC (機器)
DD (機器)
DJ (機器)
DK (機器)
RE(機器)
RG (機器)
RJ (機器)
RR (機器)
RS (機器)
DF (發動機)
DG (發動機)
This document is printed from SPI². Not for RESALE
![]()
![]()
![]()

重要安全事項
產品的操作、保養和修理中的大多數事故,都是由于不遵守基本安全規則或預防措施引起的。若能在事
故發生前認識到各種潛在危險,事故往往是可以避免的。對各種潛在的危險,必須對工作人員提出警
告。還必須對工作人員進行培訓,使其掌握必要的技能和正確使用工具。
不正確的操作、潤滑、保養或修理產品是危險的,并會造成人身傷亡。
必須閱讀和理解產品的操作、潤滑、保養和修理的資料后,才可進行這些工作。
在本手冊中和在產品上都提供有安全預防措施和警告。如果對這些警告不予注意,會給自己或他人
造成人身傷亡。
識別危險用“安全警告符號”和“標志文字”,如“危險”、“警告” 或 “當心”。“警告” 標貼如下所示。
安全警告符號的含義如下:
注意!提高警惕! 事關您的安全。
警告的下面,說明危險的情況,有的用文字書寫,有的用圖形表示。
對能造成產品損壞的操作,在產品上和在本手冊中都以“注意”標貼表示。
� � � � 不能預料到可能發生危險的每一種情況。所以,本手冊和產品上提出的警告并不包括所有
情況。如果采用的工具、操作程序、工作方法或操作技術未經 Perkins 專門推薦,您必須保障您自己和
他人的安全。還要保證您所選擇的操作方法、潤滑、保養或修理程序不會損壞產品或造成不安全。
本手冊中的資料、技術規范和圖表是根據編寫當時可得到的資料匯編的。 所列舉的技術規范、扭矩、壓
力、測量值、調整值、圖表和其它項目,隨時都可能變更, 這些變更會影響對產品的維修。因此,在進
行各項作業前,必須獲得完整的最新的資料。 � � � � 代理商備有最新的資料。
本產品需要更換零件時, � � � � 推薦使用
Perkins 原廠生產的零件或者相同技術規范的零
件。相同的技術規范包括,但不局限于外形尺寸、
類型、強度和材料。
忽視此警告會導致過早發生故障、產品損壞甚至人
員傷亡。
This document is printed from SPI². Not for RESALE
![]()
![]()
![]()
SCNR9778-02
3
目錄
目錄
技術規格部分
發動機設計 ..................................................... 4
燃油高壓油管 .................................................. 5
高壓油泵 (Delphi DP210 DPA 和 DPG 燃油噴油
泵) ....................................................................... 5
高壓油泵 (Bosch EPVE 僅用于 1104 發動機上) .. 6
高壓油泵 (Delphi STP) ......................................... 7
噴油器 ............................................................ 8
燃油輸油泵 ..................................................... 8
挺桿總成 ......................................................... 9
搖臂軸 ............................................................ 9
排氣機構罩蓋 .................................................. 9
缸蓋氣門 ......................................................... 10
缸蓋 ............................................................... 11
渦輪增壓器 ..................................................... 13
排氣歧管 ......................................................... 14
凸輪軸 ............................................................ 14
凸輪軸軸承 ..................................................... 15
發動機機油濾清器 ........................................... 16
發動機機油泵 .................................................. 16
發動機機油壓力 ............................................... 18
發動機機油旁路閥 ........................................... 19
發動機油底殼 .................................................. 20
曲軸箱呼吸器 .................................................. 21
水溫調節器和殼體 ........................................... 22
水泵 ............................................................... 23
缸體 ............................................................... 23
曲軸 ............................................................... 25
曲軸密封 .............................................................. 28
連桿軸承軸頸 .................................................. 29
主軸承軸頸 ..................................................... 29
連桿 ............................................................... 29
活塞和活塞環 .................................................. 31
活塞冷卻噴嘴 .................................................. 32
前殼體和蓋 ..................................................... 32
齒輪總成(前) ......................................................... 33
飛輪 ............................................................... 35
飛輪殼 ............................................................ 35
曲軸皮帶輪 ..................................................... 35
風扇驅動 ......................................................... 36
發動機提升支架 ............................................... 36
交流發電機 ..................................................... 36
起動馬達 ......................................................... 37
預熱塞 ............................................................ 38
索引部分
索引 ............................................................... 40
This document is printed from SPI². Not for RESALE
![]()
4
技術規格部分
SCNR9778-02
技術規格部分
發動機設計
四缸發動機
發動機前端與飛輪端相反。 發動機的左側和右側是
通過從飛輪端觀看發動機來確認的。 第 1 缸是指最
前端的那個氣缸。
i03874462
三缸發動機
g01014247
圖 2
氣缸和氣門位置
(A) 進氣門
(B) 排氣門
g00984281
圖 1
缸徑 ........................................ 105 mm (4.133 in)
行程 ........................................ 127 mm (5.000 in)
氣缸和氣門位置
(A) 進氣門
(B) 排氣門
排量 .............................................. 3.3 L (201 in )
3
缸徑 ........................................ 105 mm (4.133 in)
行程 ........................................ 127 mm (5.000 in)
氣缸布置形式 ........................................... 直列式
燃燒室類型 .............................................. 直噴式
壓縮比
排量 .............................................. 4.4 L (269 in )
3
氣缸布置形式 ........................................... 直列式
燃燒室類型 .............................................. 直噴式
壓縮比
自然吸氣式發動機 ................................ 19.3:1
渦輪增壓式發動機 ................................ 18.2:1
渦輪增壓式發動機 ................................ 17.2:1
氣缸數 .............................................................. 3
每缸氣門數 ....................................................... 2
氣門間隙
自然吸氣式發動機 ................................ 19.3:1
渦輪增壓式發動機 ................................ 18.2:1
渦輪增壓式發動機 ................................ 17.2:1
氣缸數 .............................................................. 4
每缸氣門數 ....................................................... 2
氣門間隙
進氣門 .............................. 0.20 mm (0.008 in)
排氣門 .............................. 0.45 mm (0.018 in)
發火順序 ................................................... 1, 2, 3
進氣門 .............................. 0.20 mm (0.008 in)
排氣門 .............................. 0.45 mm (0.018 in)
從發動機前端觀看曲軸時,曲軸旋轉方向如
下: ........................................................ 順時針
發火順序 ................................................ 1, 3, 4, 2
從發動機前端觀看凸輪軸時,凸輪軸旋轉方向如
下: ........................................................ 順時針
從發動機前端觀看曲軸時,曲軸旋轉方向如
下: ........................................................ 順時針
發動機前端與飛輪端相反。 發動機的左側和右側是
通過從飛輪端觀看發動機來確認的。 第 1 缸是指最
前端的那個氣缸。
從發動機前端觀看凸輪軸時,凸輪軸旋轉方向如
下: ........................................................ 順時針
This document is printed from SPI². Not for RESALE
![]()
![]()

![]()

SCNR9778-02
5
技術規格部分
i03874437
注: 燃油噴油泵上的電磁閥為可維修項目。 燃油噴
油泵為不可維修項目。
燃油高壓油管
(1) O 形密封圈
(2) 鎖緊螺釘
(3) 墊圈
鎖緊軸
松開鎖緊螺釘 (2) 并把墊圈 (3) 移動到鎖緊位置。
擰緊螺栓至以下扭矩。 ........... 17 N·m (12 lb ft)
解除軸的鎖緊
松開鎖緊螺釘 (2) 并安裝墊圈 (3) 到未鎖緊位置。
擰緊螺栓至以下扭矩。 ............. 12 N·m (9 lb ft)
g00923498
圖 3
典型的燃油管路
(1) 擰緊噴油器接頭螺母至以下扭矩。 ........ 30 N·m
(22 lb ft)
注: 擰緊噴油泵接頭螺母至以下扭矩。30 N·m (22 lb ft)
i03874446
高壓油泵
(Delphi DP210 DPA 和 DPG 燃
油噴油泵)
g00986531
圖 5
支承支架
(4) 擰緊安裝螺栓至以下扭矩。 .... 44 N·m (32 lb ft)
Delphi DP210
(5) 擰緊安裝螺栓和螺母至以下扭矩。 ........ 22 N·m
(16 lb ft)
注: 從發動機上拆卸噴油泵前必須鎖緊噴油泵軸。 擰
緊鎖緊螺釘前必須將發動機第一氣缸的活塞置于壓
縮行程上止點的位置。 鎖緊螺釘可以防止軸轉動。
如果沒有記錄發動機正時標記和鎖緊軸的操作便拆
下燃油噴油泵,那么需要由受過培訓的人員確定燃
油噴油泵的正時標記。
注: 必須在冷卻液泵裝好之后再安裝支承支架。 為
了防止正時殼體發生扭曲變形,可先用手擰緊螺栓
(4),然后再擰緊螺母和螺栓 (5)。 擰緊螺栓 (4)。
擰緊將燃油泵固定到前殼體上的螺栓至以下扭
矩。 ........................................... 25 N·m (18 lb ft)
Delphi DPA
DPA 噴油泵的支承支架與 DP 210 噴油泵的支承支
架相似。
g00922601
圖 4
Delphi DP 210 燃油噴油泵
This document is printed from SPI². Not for RESALE
![]()
![]()

![]()
![]()

![]()

6
技術規格部分
SCNR9778-02
g00986530
圖 7
Bosch EPVE 燃油噴油泵
注: 燃油噴油泵上的電磁閥為可維修項目。 燃油噴
油泵為不可維修項目。
(1) O 形密封圈
(2) 鎖緊螺釘
(3) 隔圈
g01111240
圖 6
(1) 支承支架
(2) 鎖緊螺釘
(3) 墊圈
注: Delphi STP 燃油噴油泵鎖緊螺釘的扭矩與 Delphi
DPA 和 DPG 燃油噴油泵鎖緊螺釘的扭矩相同。
Delphi DPA 燃油噴油泵的支承支架尺寸更大些。 兩
種燃油噴油泵的支承支架安裝螺栓的扭矩相同。
鎖緊軸
拆下隔圈 (3) 然后擰緊鎖緊螺釘 (2) 至以下扭
矩。 ...................................... 31 N·m (23 lb ft)
Delphi DPG
解除軸的鎖緊
松開螺栓,將隔圈 (3) 放在鎖緊螺釘 (2) 后面。
擰緊螺栓至以下扭矩。 ............. 12 N·m (9 lb ft)
DPG 噴油泵僅用在以固定轉速運轉的發動機上。 在
這種噴油泵上沒有支承支架。
ER 燃油噴油泵柱塞的升程 ...... 1.55 mm (0.0610 in)
i03874439
高壓油泵
(Bosch EPVE 僅用于 1104 發動
機上)
注: 從發動機上拆卸噴油泵前必須鎖緊噴油泵軸。 擰
緊鎖緊螺釘前必須將發動機第一氣缸的活塞置于壓
縮行程上止點的位置。 鎖緊螺釘可以防止軸轉動。
如果沒有記錄發動機正時標記和鎖緊軸的操作便拆
下燃油噴油泵,那么需要由受過培訓的人員確定燃
油噴油泵的正時標記。
g00988408
圖 8
安裝好的 EVEP 燃油噴油泵
This document is printed from SPI². Not for RESALE
![]()
![]()

![]()

![]()

SCNR9778-02
7
技術規格部分
(4) 擰緊燃油噴油泵柱塞堵頭至以下扭矩。 .. 29 N·m
(21 lb ft)
g00986295
圖 9
支承支架
注: 支承支架必須在安裝冷卻液泵之后安裝。 為了防
止正時殼體發生扭曲變形,可先用手擰緊螺栓 (5),
然后再擰緊螺母和螺栓(6)。 擰緊螺栓 (5)。
g01061708
圖 10
Delphi STP 燃油噴油泵
(5) 擰緊螺栓至以下扭矩。 ........... 44 N·m (32 lb ft)
(6) 擰緊螺母和螺栓至以下扭矩。 .. 22 N·m (16 lb ft)
注: 燃油噴油泵上的電磁閥為可維修項目。 燃油噴
油泵為不可維修項目。
(1) 鎖緊螺釘
(2) 墊圈
擰緊將燃油泵固定到前殼體上的螺栓至以下扭
矩。 ........................................... 25 N·m (18 lb ft)
鎖緊軸
i03874467
高壓油泵
松開鎖緊螺釘 (1) 并把墊圈 (2) 轉動到鎖緊位置。
擰緊螺栓至以下扭矩。 ........... 13 N·m (10 lb ft)
(Delphi STP)
解除軸的鎖緊
松開鎖緊螺釘 (2) 并安裝墊圈 (3) 到未鎖緊位置。
擰緊螺栓至以下扭矩 ................. 12 N·m (9 lb ft)
注: 從發動機上拆卸噴油泵前必須鎖緊噴油泵軸。 擰
緊鎖緊螺釘前必須將發動機第一氣缸的活塞置于壓
縮行程上止點的位置。 鎖緊螺釘可以防止軸轉動。
如果沒有記錄發動機正時標記和鎖緊軸的操作便拆
下燃油噴油泵,那么需要由受過培訓的人員確定燃
油噴油泵的正時標記。
g00986531
圖 11
支承支架
(4) 擰緊安裝螺栓至以下扭矩。 .... 44 N·m (32 lb ft)
(5) 擰緊安裝螺栓和螺母至以下扭矩。 ........ 22 N·m
(16 lb ft)
This document is printed from SPI². Not for RESALE
![]()
![]()

![]()

![]()

8
技術規格部分
SCNR9778-02
注: 必須在冷卻液泵裝好之后再安裝支承支架。 為
了防止正時殼體發生扭曲變形,可先用手擰緊螺栓
(4),然后再擰緊螺母和螺栓(5)。 擰緊螺栓 (4)。
i03874435
燃油輸油泵
擰緊將燃油泵固定到前殼體上的螺栓至以下扭
矩。 ........................................... 25 N·m (18 lb ft)
i03874454
噴油器
g00908211
圖 12
噴油器卡箍
(1) 將噴油器卡箍上的螺栓擰緊至以下扭
矩。 ...................................... 35 N·m (26 lb ft)
g00986823
圖 13
應該在表 1 中的壓力下對噴油器進行測試。
(1) 緊固螺栓
(2) 夾子
10 秒內的泄漏量 ........................................... 0 滴
表 1
維修噴油器時的設定值
噴射壓力
(3) 隔圈
(4) 燃油輸油泵
29.4 + 0.8 MPa (4264 + 116 psi)
類型 ................................ 12 或 24 伏電動馬達
(5) 燃油濾芯
(6) O 形密封圈
(7) 燃油濾清器杯
注: 用手緊固燃油濾清器杯。 用手把杯再旋轉 1/8
圈。
This document is printed from SPI². Not for RESALE
![]()
![]()


![]()

SCNR9778-02
9
技術規格部分
i03874466
用來安裝襯套的搖臂孔內徑 .. 25.01 至 25.05 mm
(0.9847 至 0.9862 in)
挺桿總成
搖臂襯套
搖臂襯套與搖臂軸之間的間隙 .. 0.03 至 0.09 mm
(0.0010 至 0.0035 in)
搖臂襯套與搖臂軸之間的最大允許間
隙 ..................................... 0.17 mm (0.007 in)
(5) 彈簧
注: 在搖臂軸組件前部安裝最長的螺釘。
(6) 均勻地緊固螺釘。 從中央向兩邊逐漸擰緊。 擰
緊螺釘至以下扭矩 .................. 35 N·m (26 lb ft)
(7) 搖臂軸
搖臂軸直徑 ........................ 24.96 至 24.99 mm
(0.9827 至 0.9839 in)
g00629433
圖 14
(1) 挺柱體直徑 ........................ 18.99 至 19.01 mm
(0.7475 至 0.7485 in)
(8) 安裝搖臂軸組件時必須確保搖臂軸上經過機加工
的這個方形表面朝上。
將挺柱安裝到缸體孔后挺柱與安裝孔之間的間
隙 ............... 0.04 至 0.09 mm (0.0015 至 0.0037 in)
(9) 鎖緊螺母
鎖緊螺母扭矩 ........................ 27 N·m (20 lb ft)
i03874469
i03874450
搖臂軸
排氣機構罩蓋
注: 在 3 缸發動機和 4 缸發動機上安裝的搖臂軸組件
包含相同的部件。 區別是搖臂軸的長度不同。
四缸發動機氣門室罩
g00985174
g00908011
圖 15
圖 16
搖臂軸
氣門室罩
注: 安裝搖臂軸需要用到 27610227 間隔工具。
按照圖示順序擰緊氣門室罩緊固螺栓至以下扭
矩。 ............................................... 9 N·m (7 lb ft)
(1) 卡環
(2) 墊圈
(3) 搖臂
(4) 搖臂孔
This document is printed from SPI². Not for RESALE
![]()
![]()

![]()
![]()

![]()

10
技術規格部分
SCNR9778-02
三缸發動機氣門室罩
安裝氣門彈簧的預緊力 ............. 254 N (57.1 lb)
渦輪增壓式發動機
氣門彈簧的安裝高度 .......... 34.5 mm (1.358 in)
安裝氣門彈簧的預緊力 ............. 229 N (51.4 lb)
(2) 氣門彈簧凹槽
(3) 加工完的氣門導管
氣門導管內徑 .................... 9.000 至 9.022 mm
(0.3543 至 0.3552 in)
排氣門導管的外徑 .......... 13.034 至 13.047 mm
(0.5131 至 0.5137 in)
進氣門導管的外徑 .......... 13.034 至 13.047 mm
(0.5131 至 0.5137 in)
氣門導管在氣缸蓋內的過盈配合
量 ...... 0.007 至 0.047 mm (0.0003 至 0.0019 in)
氣門導管長度 .................... 51.00 至 51.50 mm
(2.018 至 2.027 in)
g01018519
圖 17
氣門導管高出氣門彈簧凹槽(2)部分的長
度 ......... 12.35 至 12.65 mm (0.486 至 0.498 in)
氣門室罩
按照圖示順序擰緊氣門室罩緊固螺栓至以下扭
注: 當安裝新氣門導管時,必須安裝新氣門和新氣門
座鑲圈。 氣門導管和氣門座鑲圈為半加工零件。 將
粗加工的氣門導管和粗加工的氣門座鑲圈安裝在缸蓋
內。 然后,對氣門導管和氣門座鑲圈進行剪切;接
著,采用專用工具一次完成對氣門導管和氣門座鑲
圈進行的擴孔操作。 本步驟可確保氣門座和氣門導
管同心,并由此產生嚴密的密封效果。 請參閱《拆
卸和安裝手冊》獲取拆卸和安裝過程的信息。
矩。 ............................................... 9 N·m (7 lb ft)
i03874458
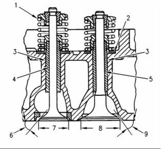
缸蓋氣門
(4) 排氣門
排氣門氣門桿直徑 .............. 8.938 至 8.960 mm
(0.3519 至 0.3528 in)
氣門桿與氣門導管之間的間隙 ... 0.040 至 0.840 mm
(0.0016 至 0.033 in)
排氣門總長度 ...................... 128.92 至 129.37 mm
(5.075 至 5.093 in)
排氣門表面凹進至缸蓋以下的尺寸如下。
自然吸氣式發動機 ....................... 0.53 至 0.81 mm
(0.021 至 0.032 in)
使用極限 ................................. 1.06 mm (0.042 in)
渦輪增壓式發動機 ....................... 1.53 至 1.81 mm
(0.060 至 0.071 in)
g00294082
圖 18
使用極限 ................................ 2.06 mm (0.0811 in)
(5) 進氣門
缸蓋橫截面
(1) 氣門彈簧
進氣門氣門桿直徑 .............. 8.953 至 8.975 mm
(0.3525 至 0.3533 in)
自然吸氣式發動機
氣門彈簧的安裝高度 .......... 33.5 mm (1.318 in)
This document is printed from SPI². Not for RESALE
![]()
![]()

![]()

SCNR9778-02
11
技術規格部分
氣門桿與氣門導管之間的間
自然吸氣式發動機排氣門座凹槽
隙 ........ 0.025 至 0.069 mm (0.001 至 0.0027 in)
(A) .... 9.910 至 10.040 mm (0.3901 至 0.3952 in)
(B) .. 42.420 至 42.445 mm (1.6701 至 1.6711 in)
(C)最大半徑 ....................... 0.38 mm (0.015 in)
進氣門總長度 ...................... 128.92 至 129.37 mm
(5.075 至 5.093 in)
渦輪增壓式發動機進氣門座凹槽
進氣門表面凹進至缸蓋以下的尺寸如下。
(A) .. 10.910 至 11.040 mm (0.4295 至 0.4346 in)
(B) .. 47.820 至 47.845 mm (1.8826 至 1.8836 in)
(C)最大半徑 ....................... 0.38 mm (0.015 in)
自然吸氣式發動機 ....................... 0.58 至 0.84 mm
(0.023 至 0.033 in)
渦輪增壓式發動機進氣門座凹槽
使用極限 ................................. 1.09 mm (0.043 in)
(A) .. 10.910 至 11.040 mm (0.4295 至 0.4346 in)
(B) .. 42.420 至 42.445 mm (1.6700 至 1.6710 in)
(C)最大半徑 ....................... 0.38 mm (0.015 in)
渦輪增壓式發動機 ....................... 1.58 至 1.84 mm
(0.062 至 0.072 in)
使用極限 ................................ 2.09 mm (0.0823 in)
(6) 排氣門錐面與垂直軸線之間的夾角
i03874452
缸蓋
氣門錐角 ............................................... 30 度
氣門座錐角 ............................................ 30 度
表 3 中給出了缸蓋的最大扭曲變形量。
(7) 排氣門
氣門頭直徑 ........................ 41.51 至 41.75 mm
(1.634 至 1.643 in)
表 2
需要的工具
(8) 進氣門氣門頭直徑 .............. 46.20 至 46.45 mm
(1.818 至 1.828 in)
零部件
零件名稱
編號
數量
1
21825607
角度規
(9) 進氣門錐面與垂直軸線之間的夾角
氣門錐角 ............................................... 30 度
氣門座錐角 ............................................ 30 度
缸蓋螺栓的長度有兩種。 下面是擰緊缸蓋螺栓所需
要的扭矩值。
發動機冷態時的氣門間隙如下:
四缸發動機
進氣門 .............................. 0.20 mm (0.008 in)
排氣門 .............................. 0.45 mm (0.018 in)
g00809016
圖 19
氣門座鑲圈凹槽
(10) 在缸蓋上加工如下尺寸的氣門座鑲圈凹槽。
自然吸氣式發動機進氣門座凹槽
(A) .... 9.910 至 10.040 mm (0.3901 至 0.3952 in)
(B) .. 47.820 至 47.845 mm (1.8826 至 1.8836 in)
(C)最大半徑 ....................... 0.38 mm (0.015 in)
g00987480
圖 20
擰緊順序
This document is printed from SPI². Not for RESALE
![]()
![]()


![]()

12
技術規格部分
SCNR9778-02
三缸發動機
四缸發動機
g01006568
圖 23
三缸發動機
g01017007
圖 21
擰緊順序
在螺栓螺紋以及螺栓頭的下方涂上清潔的發動機機
油進行潤滑。
按照圖示順序擰緊缸蓋螺栓至以下扭
矩。 ...................................... 50 N·m (37 lb ft)
再次擰緊缸蓋螺栓至以下扭矩。 ......... 100 N·m
(74 lb ft)
g01017008
圖 24
表 3
尺寸
最大允許變形量
寬度 (A)
長度 (B)
對角線 (C)
0.03 mm (0.0018 in)
0.05 mm (0.0019 in)
0.05 mm (0.0019 in)
g00905621
圖 22
缸蓋螺栓還需要附加一個擰緊步驟。 數字 (1, 3, 4)
代表三個長缸蓋螺栓。 所有其他螺栓為短螺栓。 擰
緊順序如圖所示。
在每個螺栓頭的頂部放置角度規。 將短螺栓再擰
緊。 .................................................... 225 度
在每個螺栓頭的頂部放置角度規。 將長螺栓再擰
緊。 .................................................... 270 度
缸蓋厚度 .. 117.95 至 118.05 mm (4.643 至 4.647 in)
缸蓋最小厚度 ....................... 117.20 mm (4.614 in)
注: 表 3 中給出了缸蓋的最大扭曲變形量。
This document is printed from SPI². Not for RESALE
![]()
![]()

![]()

![]()

![]()


SCNR9778-02
13
技術規格部分
四缸發動機
i03874443
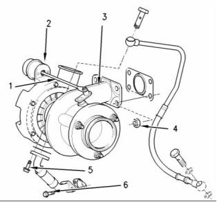
渦輪增壓器
表 4
渦輪增壓器部件號
廢氣旁通閥壓力
2674A200
2674A201
2674A202
2674A209
2674A211
2674A215
2674A223
2674A224
2674A225
2674A226
2674A227
100 ± 5 kPa
(14.5040 ± 0.7252 psi)
110 ± 5 kPa
(15.9544 ± 0.7252 psi)
128 ± 5 kPa
(18.5651 ± 0.7252 psi)
100 ± 5 kPa
(14.5040 ± 0.7252 psi)
128 ± 5 kPa
(18.5651 ± 0.7252 psi)
128 ± 5 kPa
(18.5651 ± 0.7252 psi)
136 ± 5 kPa
(19.7254 ± 0.7252 psi)
136 ± 5 kPa
(19.7254 ± 0.7252 psi)
136 ± 5 kPa
(19.7254 ± 0.7252 psi)
g00991357
圖 25
100 ± 5 kPa
(14.5040 ± 0.7252 psi)
典型渦輪增壓器
(1) 執行器桿
(2) 執行器
128 ± 5 kPa
(18.5651 ± 0.7252 psi)
三缸發動機
(3) 渦輪增壓器
表 5
(4) 擰緊螺母至以下扭矩。 ........... 47 N·m (34 lb ft)
(5) 擰緊螺栓至以下扭矩。 ............ 9 N·m (80 lb in)
(6) 擰緊螺栓至以下扭矩。 ........... 22 N·m (16 lb ft)
廢氣旁通閥最大測試壓力 ............. 205 kPa (30 psi)
執行器桿的運動范圍 ................... 1 mm (0.0394 in)
渦輪增壓器部件號
廢氣旁通閥壓力
2674A405
2674A421
2674A422
100 ± 3 kPa
(14.5040 ± 0.4351 psi)
100 ± 3 kPa
(14.5040 ± 0.4351 psi)
200 ± 3 kPa
(29.0080 ± 0.4351 psi)
This document is printed from SPI². Not for RESALE
![]()
![]()



14
技術規格部分
SCNR9778-02
i03874453
i03874431
排氣歧管
凸輪軸
四缸發動機
g00987750
圖 28
檢查凸輪軸軸向間隙
g00907527
圖 26
(1) 新凸輪軸軸向間隙 .................. 0.10 至 0.55 mm
(0.004 至 0.022 in)
擰緊次序
注: 排氣歧管必須與氣缸蓋對齊。 請參閱《解體和
組裝手冊》。
磨損凸輪軸的最大允許軸向間隙 .............. 0.60 mm
(0.023 in)
按照圖26 順序擰緊排氣歧管螺栓至以下扭
矩。 ........................................... 33 N·m (24 lb ft)
三缸發動機
g00976195
圖 29
典型凸輪軸
(2) 螺栓
g01017009
擰緊螺栓至以下扭矩。 ........... 95 N·m (70 lb ft)
圖 27
注: 排氣歧管必須與氣缸蓋對齊。 請參閱《解體和
組裝手冊》。
(3) 凸輪軸止推墊圈
止推墊圈厚度 ........................ 5.49 至 5.54 mm
(0.216 至 0.218 in)
按照圖 27 順序擰緊排氣歧管螺栓至以下扭
矩。 ........................................... 33 N·m (24 lb ft)
缸體上 為止 推墊 圈預 留的 凹槽 的深
度 ............. 5.54 至 5.64 mm (0.218 至 0.222 in)
止推墊圈在缸體前表面的公
差 ................................. −0.154 至 −0.003 mm
(−0.0006 至 −0.0001 in)
(4) 凸輪軸軸頸的直徑見下表。
This document is printed from SPI². Not for RESALE
![]()
![]()

![]()

![]()

![]()
![]()

SCNR9778-02
15
技術規格部分
表 6
渦輪增壓式
進氣凸輪 ........................... 7.031 至 7.130 mm
(0.2768 至 0.2807 in)
1104 凸輪軸軸頸的直徑
凸輪軸軸頸
1
標準直徑
排氣凸輪 ........................... 7.963 至 8.063 mm
(0.3135 至 0.3174 in)
50.71 至 50.74 mm
(1.9965 至 1.9975 in)
(6) 凸輪軸凸輪高度
50.46 至 50.48 mm
(1.9865 至 1.9875 in)
2
3
(7) 基圓
49.95 至 49.98 mm
(1.9665 至 1.9675 in)
可采用下列步驟確定凸輪軸凸輪升程:
1. 測量凸輪軸凸輪高度 (6)。
2. 測量基圓 (7)。
表 7
1103 凸輪軸軸頸的直徑
凸輪軸軸頸
1
標準直徑
3. 用步驟 1 中得到的凸輪軸凸輪高度減去步驟 2
中得到的基圓數值。 二者之差就是實際的凸輪
軸凸輪升程。
50.71 至 50.74 mm
(1.9965 至 1.9975 in)
50.46 至 50.48 mm
(1.9865 至 1.9875 in)
2
3
4
一根新凸輪軸的實際凸輪升程與其設計值之間的最
大允許偏差 ............................. 0.05 mm (0.021 in)
50.46 至 50.48 mm
(1.9865 至 1.9875 in)
i03874440
49.95 至 49.98 mm
(1.9665 至 1.9675 in)
凸輪軸軸承
凸輪軸軸頸的最大磨損量 ........ 0.05 mm (0.0021 in)
g00997348
圖 31
g00629702
圖 30
典型的四缸發動機
(5) 凸輪軸凸輪升程
自然吸氣式
進氣凸輪 ........................... 7.382 至 7.482 mm
(0.2906 至 0.2946 in)
排氣凸輪 ........................... 7.404 至 7.504 mm
(0.2914 至 0.2954 in)
This document is printed from SPI². Not for RESALE
![]()


![]()

![]()

16
技術規格部分
SCNR9778-02
可更換濾芯
g00915985
圖 34
注: 安裝以前先在機油濾清器殼體上涂上清潔的發
動機機油以潤滑油封。
類型 ........................................................ 全流型
g01017012
圖 32
三缸發動機
機油濾清器旁通閥開啟壓力 ........... 130 至 170 kPa
(19 至 25 psi)
(1) 凸輪軸軸承
(1) 將機油濾清器殼體裝到機油濾清器支座上,并擰
緊至以下扭矩。 ..................... 25 N·m (18 lb ft)
安裝后測量的凸輪軸軸承直
徑 .. 50.790 至 50.850 mm (1.9996 至 2.0020 in)
(2) 擰緊機油濾清器的放油塞至以下扭矩。 .. 12 N·m
(9 lb ft)
i03874460
發動機機油濾清器
注: 水平安裝的機油濾清器的放油塞位于濾清器蓋上
(3) 1/2 in 方形安裝凹槽
旋裝式機油濾清器
i03874449
發動機機油泵
帶平衡器的四缸發動機
類型 ........................................ 齒輪驅動,轉子型
凸起數
內轉子 ........................................................ 6
外轉子 ........................................................ 7
g00915984
圖 33
(1) 油封
注: 在安裝以前先在油封的上表面涂上清潔的發動
機機油進行潤滑。
類型 ........................................................ 全流型
機油濾清器旁通閥開啟壓力 ............. 80 至 120 kPa
(12 至 18 psi)
This document is printed from SPI². Not for RESALE
![]()
![]()

![]()

![]()

SCNR9778-02
17
技術規格部分
g00989248
g00989217
圖 35
圖 37
帶平衡器的四缸發動機用機油泵
轉子的軸向間隙
(1) 外轉子與泵體之間的間隙 ...... 0.130 至 0.24 mm
(0.0050 至 0.0094 in)
(3) 轉子組件的軸向間隙
內轉子 .. 0.04 至 0.11 mm (0.0016 至 0.0043 in)
外轉子 .. 0.04 至 0.00 mm (0.0016 至 0.0043 in)
g00938724
圖 38
端蓋
(4) 機油泵端蓋螺栓的扭矩 ........... 26 N·m (19 lb ft)
g00989236
圖 36
內轉子
(2) 內轉子與外轉子之間的間隙 .. 0.050 至 0.200 mm
(0.0020 至 0.0079 in)
This document is printed from SPI². Not for RESALE
![]()
![]()

![]()

![]()

![]()

18
技術規格部分
SCNR9778-02
g00989519
g00938061
圖 39
圖 41
惰齒輪和機油泵齒輪
檢查間隙
注: 更換惰齒輪螺栓 (5) 和機油泵齒輪螺母 (6)。
(5) 擰緊惰齒輪螺栓至以下扭矩。 .. 26 N·m (19 lb ft)
(2) 內轉子與外轉子之間的間隙 .. 0.040 至 0.127 mm
(0.0015 至 0.0050 in)
注: 將發動機置于 TC 位置。 請參閱《測試與調整》,
“確定第 1 缸活塞壓縮上止點位置”。 安裝平衡器。
請參閱《解體和組裝手冊》。 安裝機油泵齒輪并
擰緊螺母 (6)。
(6) 擰緊螺母至以下扭矩。 ........... 95 N·m (70 lb ft)
擰緊將平衡器固定到缸體上的螺栓至以下扭
矩。 ........................................... 54 N·m (40 lb ft)
不帶平衡器總成的四缸和三缸發動機
類型 ........................................ 齒輪驅動,轉子型
凸起數
g00938799
圖 42
檢查軸向間隙
內轉子 ........................................................ 5
外轉子 ........................................................ 6
(3) 轉子組件的軸向間隙
內轉子 .............................. 0.038 至 0.089 mm
(0.0014 至 0.0035 in)
外轉子 .............................. 0.025 至 0.076 mm
(0.0010 至 0.0029 in)
擰緊緊固機油泵組件前蓋的螺栓至以下扭
矩。 ........................................... 26 N·m (19 lb ft)
i03874447
發動機機油壓力
發動機在最高轉速和正常工作溫度時的最小油壓為
以下值。 ..................................... 300 kPa (43 psi)
g00938064
圖 40
機油泵
(1) 外轉子與泵體之間的間隙 .... 0.152 至 0.330 mm
(0.0059 至 0.0129 in)
This document is printed from SPI². Not for RESALE
![]()
![]()

![]()

![]()

![]()

![]()
SCNR9778-02
19
技術規格部分
i03874455
發動機機油旁路閥
安裝在機油泵中
g00919890
圖 45
螺塞
g00919893
圖 43
典型發動機機油泵
g00921379
圖 46
平衡器泄壓閥
(1) 擰緊平衡器泄壓閥螺塞至以下扭矩。 .... 35 N·m
(26 lb ft)
(2) 柱塞
g00921377
圖 44
柱塞直徑 ........................... 14.46 至 14.48 mm
(0.5692 至 0.5700 in)
泄壓閥和彈簧
(1) 擰緊泄壓閥蓋至以下扭矩 ........ 35 N·m (26 lb ft)
(2) 柱塞
柱塞在孔中的間隙 .................. 0.04 至 0.08 mm
(0.0015 至 0.0031 in)
柱塞直徑 ....................... 19.186 至 19.211 mm
(0.7554 至 0.7563 in)
柱塞在孔中的間隙 .............. 0.039 至 0.114 mm
(0.0015 至 0.0045 in)
安裝在平衡器中
僅 1104 發動機
This document is printed from SPI². Not for RESALE
![]()
![]()

![]()

![]()

![]()

20
技術規格部分
SCNR9778-02
i03874436
發動機油底殼
前部密封膠
g00990254
圖 47
涂抹密封膠
(1) 涂抹 1861108 Powerpart 硅密封膠至缸體處和
正時齒輪殼體處。
g00990252
圖 49
注: 如圖47所示涂抹 3.5 mm (0.1378 in) 的密封膠。
典型油底殼
后部密封膠
(3) 擰緊前四個螺栓至以下扭矩。 .. 22 N·m (16 lb ft)
(4) 擰緊剩余螺栓至以下扭矩。 .... 22 N·m (16 lb ft)
注: 在橋上涂抹密封膠前要先安裝后油封。
g00990255
圖 48
涂抹密封膠
(2) 涂抹 1861108 Powerpart 硅密封膠至橋處。 密
封膠不得超出橋 5 mm (0.1969 in)。
注: 涂完密封膠后必須在 10 分鐘之內裝上油底殼。
This document is printed from SPI². Not for RESALE
![]()
![]()

![]()

![]()
![]()

SCNR9778-02
21
技術規格部分
鑄鐵油底殼
g00990677
圖 51
放油閥
(8) 放油閥
將放油 閥擰 入接 頭并 擰緊 至以 下扭
矩。 ........................... 34 ± 5 N·m (25 ± 4 lb ft)
(9) 接頭
將接頭 擰入 油底 殼并 擰緊 至以 下扭
矩。 ........................... 34 ± 5 N·m (25 ± 4 lb ft)
i03874464
g00990249
曲軸箱呼吸器
圖 50
鑄鐵油底殼
注: 鑄鐵油底殼 (5) 的后面必須與缸體的后面對齊。
(5) 允許的最大誤差值。 .......... 0.1 mm (0.0039 in)
(6) 螺栓
擰緊前四個螺栓。請參考圖 49。 擰緊其余用來
將油底殼固定到缸體上的螺栓和螺母至以下扭
矩。 ...................................... 22 N·m (16 lb ft)
注: 在新螺栓上涂抹密封膠。 為了能夠重復使用螺
栓,涂抹 21820117 Powerpart 螺紋鎖固膠和螺母鎖
固膠至舊螺栓的前三個螺紋處。
注: 在發動機上可能裝有機油放油螺塞或機油放油
閥。
(7) 放油螺塞
擰緊發動機油底殼放油螺塞至以下扭
矩。 ........................... 34 ± 5 N·m (25 ± 4 lb ft)
g00926199
圖 52
呼吸器閥
(1) 塑料蓋
(2) 蓋板
(3) 螺釘
This document is printed from SPI². Not for RESALE
![]()
![]()

![]()

![]()

22
技術規格部分
SCNR9778-02
擰緊安裝到塑料氣門室罩上的蓋板緊固螺釘至以
下扭矩。 ........................... 1.3 N·m (11.5 lb in)
擰緊安裝到金屬氣門室罩上的蓋板緊固螺釘至以
下扭矩。 .............................. 1.8 N·m (16 lb in)
(4) 膜片
(5) 蓋
(6) 彈簧
g01121867
圖 54
(1) 塑料蓋
(2) 螺釘
(3) 蓋板
(4) 密封圈
(2) 擰緊安裝到塑料氣門室罩上的蓋板緊固螺釘至以
下扭矩。 ........................... 1.3 N·m (11.5 lb in)
i03874444
g00926200
圖 53
水溫調節器和殼體
(7) O 形密封圈
注: 涂抹 21820221 Powerpart 紅色橡膠潤滑脂 至 O
形密封圈上,然后再將呼吸器管安裝到氣門室罩上。
擰緊緊固殼體的螺栓(未顯示)至以下扭
矩。 ........................................... 22 N·m (16 lb ft)
(8) 擰緊將呼吸器管固定到氣缸蓋上的緊固螺栓至以
下扭矩 ................................... 9 N·m (80 lb in)
發動機型號DK 和 DJ
注: 在這樣的三缸發動機的氣門室罩上沒有安裝呼
吸器閥。
g00997234
圖 55
O 形密封圈
注: 涂抹 21820221 Powerpart 紅色橡膠潤滑脂至 O
形密封圈 (1) 處, 然后再安裝節溫器殼體。
This document is printed from SPI². Not for RESALE
![]()
![]()

![]()

![]()

SCNR9778-02
23
技術規格部分
水溫調節器
i03874434
缸體
四缸發動機
g00906121
圖 56
一個典型的水溫調節器
開啟溫度 ................... 79 ° 至 84 °C (174°至 151°F)
全開啟溫度 .................................... 93 °C (199 °F)
在全開啟溫度時的最小開度 ....... 10 mm (0.3937 in)
g00924764
圖 58
缸體
(1) 缸體
i03874456
水泵
(2) 缸徑 ........................... 105.000 至 105.025 mm
(4.1338 至 4.1348 in)
第一加大尺寸孔徑 ............... 105.5 至 105.525 mm
(4.1535 至 4.1545 in)
第二加大尺寸孔徑 ............ 106.000 至 106.025 mm
(4.1732 至 4.1742 in)
缸徑最大允許磨損量 .. 0 至 0.15 mm (0 至 0.0059 in)
(3) 四缸發動機凸輪軸軸承
1 號凸輪軸 軸承在缸 體中的 孔的直
徑 .. 55.563 至 55.593 mm (2.1875 至 2.1887 in)
2 號凸輪軸 軸頸在缸 體中的 孔的直
徑 .. 50, , .546 至 50.597 mm (1.9900 至 1.9920 in)
g00915951
3 號凸輪軸 軸頸在缸 體中的 孔的直
徑 .. 50.038 至 50.089 mm (1.9700 至 1.9720 in)
圖 57
擰緊次序
(4) 四缸發動機主軸承
注: 安裝前先涂抹 21820117 Powerpart 螺紋鎖固膠
和螺母鎖固膠至螺栓的前三個螺紋處。
主軸承在缸體中的孔的直
徑 .. 80.416 至 80.442 mm (3.1660 至 3.1670 in)
按圖中所標數字的順序擰緊將水泵固定到前殼體上
的九個螺栓至以下扭矩。 ............. 22 N·m (16 lb ft)
(5) 四缸發動機主軸承蓋螺栓
注: 請參閱《解體和組裝手冊》來獲取水泵維修信
息。
采用以下步驟安裝主軸承蓋螺栓:
This document is printed from SPI². Not for RESALE
![]()
![]()

![]()

![]()

24
技術規格部分
SCNR9778-02
三缸發動機
1. 在主軸承蓋螺栓的螺紋上涂上清潔的機油。
2. 將主軸承蓋放置在主軸承蓋頂部號碼指示的正
確位置。 安裝主軸承蓋時凸鍵必須與缸體上的
凹槽對準。
3. 均勻擰緊主軸承蓋螺栓。
主軸承蓋螺栓扭矩。 ............. 245 N·m (180 lb ft)
g01018250
圖 60
g00938203
圖 59
(8) 缸體
采用以下步驟安裝橋的六角頭螺栓:
注: 涂抹密封膠前安裝后部密封。
(9) 缸徑 ........................... 105.000 至 105.025 mm
(4.1338 至 4.1348 in)
第一加大尺寸孔徑 ............... 105.5 至 105.525 mm
(4.1535 至 4.1545 in)
1. 用直尺確保橋與缸體的后面對準。
2. 擰緊橋的六角頭螺栓 (6)。
第二加大尺寸孔徑 ............ 106.000 至 106.025 mm
(4.1732 至 4.1742 in)
六角頭螺栓扭矩 ...................... 16 N·m (12 lb ft)
缸徑最大允許磨損量 .. 0 至 0.15 mm (0 至 0.0059 in)
(10) 四缸發動機凸輪軸軸承
3. 將橋裝在缸體上以后,涂抹 21826038
POWERPART 硅粘合劑至橋兩端的槽 (7) 處。 在
槽內擠入密封膠,直到密封膠到達橋處槽的底端。
1 號凸輪軸 軸承在缸 體中的 孔的直
頂面和底面之間缸體總高
度。 ................................ 441.173 至 441.274 mm
(17.3689 至 17.3729 in)
徑 .. 55.563 至 55.593 mm (2.1875 至 2.1887 in)
2 號凸輪軸 軸頸在缸 體中的 孔的直
徑 .. 50.546 至 50.597 mm (1.9900 至 1.9920 in)
3 號凸輪軸 軸頸在缸 體中的 孔的直
徑 .. 50.546 至 50.597 mm (1.9900 至 1.9920 in)
4 號凸輪軸 軸頸在缸 體中的 孔的直
徑 .. 50.038 至 50.089 mm (1.9700 至 1.9720 in)
(11) 三缸發動機主軸承
主軸承在缸體中的孔的直
徑 .. 80.416 至 80.442 mm (3.1660 至 3.1670 in)
(12) 四缸發動機和三缸發動機主軸承蓋螺栓
采用以下步驟安裝主軸承蓋螺栓:
1. 在主軸承蓋螺栓的螺紋上涂上清潔的機油。
This document is printed from SPI². Not for RESALE
![]()
![]()

![]()

SCNR9778-02
25
技術規格部分
2. 將主軸承蓋放置在主軸承蓋頂部號碼指示的正
確位置。 安裝主軸承蓋時凸鍵必須與缸體上的
凹槽對準。
i03874459
曲軸
3. 均勻擰緊主軸承蓋螺栓。
主軸承蓋螺栓扭矩。 ............. 245 N·m (180 lb ft)
g01018262
圖 61
采用以下步驟安裝橋的六角頭螺栓。
注: 涂抹密封膠前安裝后部密封。
1. 用直尺確保橋與缸體的后面對準。
2. 擰緊橋的六角頭螺栓 (13)。
六角頭螺栓扭矩 ...................... 16 N·m (12 lb ft)
g00992214
圖 62
3. 將橋裝在缸體上以后,涂抹 21826038
POWERPART 硅粘合劑至橋兩端的槽 (14) 處。
在槽內擠入密封膠,直到密封膠到達橋處槽的底
端。
四缸發動機曲軸
(1) 四缸發動機曲軸
曲軸最大軸向間隙 .................. 0.51 mm (0.0201 in)
頂面和底面之間缸體總高
度。 ................................ 441.173 至 441.274 mm
(17.3689 至 17.3729 in)
(2) 止推墊圈
標準厚度 ... 2.26 至 2.31 mm (0.089 至 0.091 in)
加大尺寸厚度 ........................ 2.45 至 2.50 mm
(0.097 至 0.098 in)
(3) 曲軸齒輪
安裝到曲軸上的齒輪的最大允許溫度 .......... 180 °C
(356 °F)
注: 將齒輪安裝到曲軸上后,正時標記朝向曲軸外
側。
注: 所有渦輪增壓式發動機及渦輪增壓后冷式發動機
曲軸都為 硝基滲碳處理。 如果不能進行硝基滲碳處
理,曲軸還可以進行 20 小時的氮化處理。 曲軸加工
后必須進行重淬火處理。 加工前后必須檢查曲軸上是
否有裂紋。 自然吸氣式發動機配置感應淬火曲軸。
This document is printed from SPI². Not for RESALE
![]()
![]()

![]()

26
技術規格部分
SCNR9778-02
g01017233
圖 63
1104 發動機曲軸
注: 請參閱圖 63 以使用表 8。
四缸發動機
表 8
曲軸軸頸的減小尺寸的直徑
0.25 mm (0.010 in) 0.51 mm (0.020 in)
編號
1
0.76 mm (0.030 in)
75.909 mm (2.9885 in) 至
75.930 mm (2.9894 in)
75.649 mm (2.9783 in) 至
75.670 mm (2.9791 in)
75.399 mm (2.9685 in) 至
75.420 mm (2.9693 in)
63.220 mm (2.4890 in) 至
63.240 mm (2.4898 in)
62.960 mm (2.4787 in) 至
62.982 mm (2.4796 in)
62.708 mm (2.4688 in) 至
62.728 mm (2.4696 in)
2
3
4
5
6
7
39.47 mm (1.5539 in) 最大值
37.44 mm (1.4740 in) 最大值
44.68 mm (1.7591 in) 最大值
40.55 mm (1.5965 in) 最大值
不要加工該直徑。
不適用
不適用
不適用
不適用
不適用
不適用
不適用
不適用
不適用
不適用
3.68 mm (0.1449 in) 至
3.96 mm (0.1559 in)
8
不適用
不適用
請參閱表 9 以了解曲軸軸頸的最大徑向跳動量。
This document is printed from SPI². Not for RESALE
![]()
![]()


SCNR9778-02
27
技術規格部分
相鄰兩個曲軸軸頸徑向跳動量的最大差值 .. 0.10 mm
(0.0039 in)
表 9
軸頸
(1)
過大跳動量
安裝
(2)
0.08 mm (0.0031 in)
0.15 mm (0.0059 in)
0.08 mm (0.0031 in)
安裝
(3)
(4)
(5)
請參閱《技術參數》, “連桿軸頸”部分,以獲得有關
連桿軸頸和連桿軸承的更多信息。
請參閱《技術參數》, “主軸頸”部分,以獲得有關主
軸頸和主軸承的更多信息。
g01017747
圖 64
三缸發動機曲軸
This document is printed from SPI². Not for RESALE
![]()

![]()

28
技術規格部分
SCNR9778-02
三缸發動機曲軸
表 10
曲軸軸頸的減小尺寸的直徑
編號
1
0.25 mm (0.010 in)
0.51 mm (0.020 in)
0.76 mm (0.030 in)
75.926 mm (2.9892 in) 至
75.905 mm (2.9884 in)
75.672 mm (2.9792 in) 至
75.651 mm (2.9784 in)
75.418 mm (2.9692 in) 至
75.397 mm (2.9684 in)
63.236 mm (2.4896 in) 至
63.216 mm (2.4888 in)
62.982 mm (2.4796 in) 至
62.962 mm (2.4788 in)
62.728 mm (2.4696 in) 至
62.708 mm (2.4688 in)
2
3
4
39.74 mm (1.5646 in) 最大值
44.68 mm (1.7591 in) 最大值
不適用
不適用
不適用
不適用
40.551 mm (1.5965 in) 最大
值
5
6
7
不適用
不適用
不適用
不適用
不適用
不適用
133.17 mm (5.2429 in) 不要
加工該直徑。
3.68 mm (0.1449 in) 至
3.96 mm (0.1559 in)
請參閱表 11 以了解曲軸軸頸的最大徑向跳動量。
i03874471
曲軸密封
相鄰兩個曲軸軸頸徑向跳動量的最大差值 .. 0.10 mm
(0.0039 in)
表 11
軸頸
(1)
過大跳動量
安裝直徑
(2)
0.051 mm (0.0020 in)
0.051 mm (0.0020 in)
安裝直徑
(3)
(4)
請參閱《技術參數》, “連桿軸頸”部分,以獲得有關
連桿軸頸和連桿軸承的更多信息。
請參閱 《技術參數》, “主軸頸” 部分,以獲得有關主
軸頸和主軸承的更多信息。
g00915078
圖 65
(1) 曲軸
(2) 塑料襯套
(3) 曲軸油封
(4) 定位工具
This document is printed from SPI². Not for RESALE
![]()


![]()

SCNR9778-02
29
技術規格部分
主軸頸的原始尺寸 ............... 76.159 至 76.180 mm
(2.9984 至 2.9992 in)
主軸頸的最大允許磨損量 ...... 0.040 mm (0.0016 in)
主軸頸的倒角半徑 ....................... 3.68 至 3.69 mm
(0.1448 至 0.1452 in)
軸承軸頸、曲柄銷以及過度圓弧的表面粗糙
度 ......................................... 0.4 微米 (16 微英寸)
主軸瓦
可將如下減小尺寸的主軸瓦用于重新加工后的主
軸頸。
減小尺寸的軸瓦 ................. 0.25 mm (0.010 in)
減小尺寸的軸瓦 ................. 0.51 mm (0.020 in)
減小尺寸的軸瓦 ................. 0.75 mm (0.030 in)
軸瓦中央厚度 .......................... 2.083 至 2.089 mm
(0.0820 至 0.0823 in)
g00915076
圖 66
(5) 將螺栓 1, 2, 3, 4, 5, 6, 7 和 10 按照圖 66 所示順
序擰緊至以下扭矩。 ............... 22 N·m (16 lb ft)
主軸瓦寬度 .. 31.62 至 31.88 mm (1.244 至 1.255 in)
主軸瓦與主軸頸之間的間隙 ...... 0.057 至 0.117 mm
(0.0022 至 0.0046 in)
拆下定位工具。
將螺栓 8 和 9 按照圖 66 所示順序擰緊至以下扭
矩。 ........................................... 22 N·m (16 lb ft)
i03874441
連桿
i03874465
連桿軸承軸頸
請參閱 《技術參數》, “曲軸” 部分,以獲取更多有關
減小尺寸的曲軸軸頸的更多信息。
連桿軸頸的原始尺寸 ................ 63.47 至 63.49 mm
(2.4988 至 2.4996 in)
連桿軸頸的最大允許磨損量 ..... 0.04 mm (0.0016 in)
連桿軸頸的寬度 ....................... 40.35 至 40.42 mm
(1.589 至 1.591 in)
連桿軸頸的倒角半徑 .................... 3.68 至 3.96 mm
(0.145 至 0.156 in)
連桿軸頸和過度圓弧的表面粗糙
度 ................................ Ra 0.4 微米(16 微英寸)
g00907738
圖 67
i03874472
主軸承軸頸
連桿的配合表面是通過液力擠壓鍛造連桿形成的。
(1) 擰緊連桿的六角螺釘至以下扭矩。 ........ 18 N·m
(13 lb ft)
請參閱 《技術參數》, “曲軸”部分,以獲取有關減小
尺寸的主軸頸以及主軸頸寬度的信息。
This document is printed from SPI². Not for RESALE
![]()
![]()

![]()

30
技術規格部分
SCNR9778-02
再次擰緊連桿的六角螺釘至以下扭矩。 ...... 70 N·m
(52 lb ft)
再次擰緊連桿的六角螺釘 120 度。 本步驟后必須更
換連桿 (1) 的六角螺釘。
注: 當總成脫離發動機時,一定要把連桿蓋緊固到連
桿上。 將組件擰緊到以下扭矩 20 N·m (14 lb ft)。
(2) 連桿軸瓦
g00995584
圖 68
軸瓦的對準
g00907744
注: 安裝后連桿軸瓦與連桿左、右兩側面距離必須相
同。 請參閱圖 68 中的(A)。 請參閱《解體和組裝手
冊》獲取有關定位工具的信息。
圖 69
(3) 活塞銷孔直徑 .................... 43.01 至 43.04 mm
(1.693 至 1.694 in)
表 12
(4) 活塞銷孔中心與連桿大頭孔中心之間的距
離 ...... 219.05 至 219.10 mm (8.624 至 8.626 in)
31.62 至 31.88 mm
連桿軸承寬度
(1.245 至 1.255 in)
31.55 至 31.88 mm
連桿蓋軸承寬度
(5) 連桿大頭孔孔徑 ................. 67.21 至 67.22 mm
(2.6460 至 2.6465 in)
(1.2405 至 1.255 in)
1.835 至 1.842 mm
連桿軸承中央的厚度
(0.0723 至 0.0725 in)
1.835 至 1.842 mm
連桿蓋軸承中央的厚度
(0.0722 至 0.0725 in)
0.030 至 0.081 mm
軸承間 隙
(0.0012 至 0.0032 in)
表 13
減小 尺寸的 連桿軸 承
0.25 mm (0.010 in)
0.51 mm (0.020 in)
0.76 mm (0.030 in)
g00915056
圖 70
對連桿進行顏色編碼。 顏色代碼用以表示連桿長度
(Y)。 請參閱表 14 以了解連桿的不同長度。
This document is printed from SPI². Not for RESALE
![]()
![]()



![]()

![]()

SCNR9778-02
31
技術規格部分
表 14
環開口間隙 ............................ 0.30 至 0.55 mm
(0.0118 至 0.0216 in)
連桿的長度等級
顏色代碼
注: 安裝新的第一道氣環時一定要確保字母 “TOP” 朝
向活塞的頂部。 在每一個新的用做第一道活塞環的
活塞環上均有一個紅色識別標記。當將第一道活塞
環安裝在垂直放置的活塞上時,必須確保這些紅色
標記位于活塞環端隙的左側。
等級字母
F
長度 (Y)
165.728 至 165.761 mm
(6.5247 至 6.5260 in)
紅色
橙色
白色
綠色
紫色
藍色
165.682 至 165.715 mm
(6.5229 至 6.5242 in)
G
H
J
(2) 中間氣環
165.637 至 165.670 mm
(6.5211 至 6.5224 in)
中 間 氣 環 的 形
狀 ........... 外側下邊緣呈階梯型,具有錐形表面
165.591 至 165.624 mm
(6.5193 至 6.5206 in)
中間氣環的寬度 ..................... 2.47 至 2.49 mm
(0.097 至 0.098 in)
165.545 至 165.578 mm
(6.5175 至 6.5188 in)
K
L
中間氣環與活塞環槽之間的間
隙 ............. 0.05 至 0.09 mm (0.002 至 0.003 in)
165.499 至 165.532 mm
(6.5157 至 6.4961 in)
環開口間隙 ............................ 0.70 至 0.95 mm
(0.0275 至 0.0374 in)
i03874442
活塞和活塞環
注: 安裝新的中間氣環時必須確保字母 “TOP” 朝向活
塞的頂部。 在每一個新的用做中間活塞環的活塞環
上均有一個綠色識別標記。當將第一道活塞環安裝
在垂直放置的活塞上時,必須確保這些綠色標記位
于活塞環端隙的左側。
(3) 油環
油環的形狀 ........... 有兩道刮油唇,帶螺旋撐簧
油環的寬度 ............................ 3.47 至 3.49 mm
(0.1366 至 0.1374 in)
油環與活塞環槽之間的間隙 ..... 0.03 至 0.07 mm
(0.0011 至 0.0027 in)
環開口間隙 ............................ 0.30 至 0.55 mm
(0.0118 至 0.0216 in)
注: 用一個銷將油環彈簧兩端固定到合適的位置。 油
環的彈簧端必須與油環開口間隙相對安裝。
g00888215
圖 71
活塞和活塞環的一個典型實例
注: 必須確保所有活塞環開口間隙的位置彼此間隔
120 度。
(1) 第一道氣環
自然吸氣式
第一道氣環的形狀 ........... 矩形,具有筒形表面
活塞
注: 活塞頂部的箭頭標記必須指向發動機前部。
渦輪增壓式發動機的燃燒杯凹角 ................... 80 度
自然吸氣式發動機的燃燒杯凹角 ................... 70 度
第一道氣環的寬度 ................ 2.475 至 2.49 mm
(0.097 至 0.098 in)
第一道氣環與活塞環槽之間的間
隙 ........... 0.09 至 .15 mm (0.0035 至 0.0059 in)
活塞高于缸體的高度 .................... 0.21 至 0.35 mm
(0.008 至 0.014 in)
環開口間隙 ............................ 0.30 至 0.55 mm
(0.0118 至 0.0216 in)
渦輪增壓式
第一道氣環的形狀 ........... 梯形,具有筒形表面
自然吸氣式發動機第一道活塞環槽的寬
度 ............... 2.58 至 2.60 mm (0.1016 至 0.1024 in)
渦輪增壓式發動機第一道活塞環槽的寬度 ....... 錐形
第一道氣環的寬度 ................................... 錐形
This document is printed from SPI². Not for RESALE
![]()

![]()

32
技術規格部分
SCNR9778-02
第二道活塞環槽的寬度 ................. 2.54 至 2.56 mm
(0.1000 至 0.1008 in)
采取以下步驟檢查活塞冷卻噴嘴是否對準。
1. 將桿 (3) 插入活塞冷卻噴嘴 (2) 的末端。 桿 (3)
的直徑為 1.70 mm (0.067 in)。 桿 (3) 必須高出
缸體頂部。
第三道活塞環槽的寬度 ................. 3.52 至 3.54 mm
(0.1386 至 0.1394 in)
活塞銷
2. 尺寸 (A) 為 55.25 mm (2.1752 in),尺寸 (B) 為
14 mm (0.5512 in)。 尺寸 (A) 和尺寸 (B) 分別與
氣缸孔 (4) 相切。
新活塞銷直徑 ................ 39.694 至 39.700 mm
(1.5628 至 1.5630 in)
3. 桿 (3) 的位置必須在尺寸 (C) 范圍內。 尺寸 (C)
為 14 mm (0.5512 in)。
活塞銷孔的直徑 ............. 39.703 至 39.709 mm
(1.5631 至 1.5633 in)
i03874445
i03874448
前殼體和蓋
活塞冷卻噴嘴
前殼體必須對準缸體表面。 ..... + 0.05 至 - 0.05 mm
(+ 0.0020 至 - 0.0020 in)
注: 活塞冷卻噴嘴已經作為選裝件安裝在三缸自然
吸氣式發動機上。
g00942652
圖 72
(1) 已安裝好的活塞冷卻噴嘴
彈簧加載閥必須能夠自由移動。 擰緊螺栓至以下扭
矩。 ............................................... 9 N·m (7 lb ft)
活塞冷卻噴嘴的對準
g00995663
圖 74
對準
(1) 擰緊將前蓋固定到前殼體的螺栓至以下扭
矩。 ...................................... 22 N·m (16 lb ft)
g01006929
圖 73
(2) 活塞冷卻噴嘴
(3) 桿
(4) 缸體
This document is printed from SPI². Not for RESALE
![]()
![]()

![]()

![]()

SCNR9778-02
33
技術規格部分
(1) 燃油噴油泵主動齒輪
擰緊螺母至以下扭矩。 ........... 24 N·m (18 lb ft)
松開燃油噴油泵軸上的鎖。 擰緊螺母至以下扭
矩。 ...................................... 90 N·m (66 lb ft)
齒數 .......................................................... 68
注: 請參閱《技術參數》, “燃油噴油泵”部分,以獲取
燃油噴油泵軸的扭矩。
(2) 凸輪軸齒輪
擰緊凸輪軸齒輪緊固螺栓至以下扭矩。 .. 95 N·m
(70 lb ft)
凸輪軸齒輪的孔徑 .............. 34.93 至 34.95 mm
(1.3750 至 1.3760 in)
凸輪軸輪轂的外徑 .............. 34.90 至 34.92 mm
(1.3741 至 1.3747 in)
凸輪軸 齒輪 與凸 輪軸 輪轂 之間 的間
g00918672
圖 75
前蓋
隙 ...... 0.003 至 0.048 mm (0.0001 至 0.0019 in)
齒數 .......................................................... 68
(2) 擰緊將水泵固定到前殼體的螺栓至以下扭
矩。 ...................................... 22 N·m (16 lb ft)
(3) 惰齒輪及其輪轂
擰緊惰齒輪螺栓至以下扭矩。 .. 44 N·m (33 lb ft)
注: 請參閱《技術參數》, “水泵”以便獲得水泵螺栓
的正確擰緊次序。
惰齒輪的孔徑 .................... 57.14 至 57.18 mm
(2.2495 至 2.2512 in)
帶滾柱軸承的惰齒輪的孔徑 .. 72.35 至 72.36 mm
(2.8484 至 2.8488 in)
i03874433
齒輪總成(前)
惰齒輪和分離式軸承組件的寬
度 ......... 30.14 至 30.16 mm (1.186 至 1.187 in)
帶法蘭的惰齒輪軸承的內徑 .. 50.78 至 50.80 mm
在 1104 機械式發動機上使用的燃油噴油泵有兩種
類型。 一種是 Delphi 210 型燃油噴油泵,一種是
Bosch EPVE 型燃油噴油泵。
9 至 2.000 in)
(1.99
惰齒輪輪轂的外徑 .............. 50.70 至 50.74 mm
(1.9961 至 1.9976 in)
帶滾柱軸承的惰齒輪輪轂的外
徑 .. 49.975 至 49.988 mm (1.9675 至 1.9680 in)
惰齒輪 輪轂 與惰 齒輪 軸承 之間 的間
隙 ......... 0.04 至 0.10 mm (0.0016 至 0.0039 in)
惰齒輪軸向間隙 ..................... 0.10 至 0.20 mm
(0.004 至 0.008 in)
帶滾柱軸承的惰齒輪的軸向間
隙 ......... 0.10 至 0.75 mm (0.0039 至 0.0295 in)
最大容許軸向間隙 .............. 0.38 mm (0.015 in)
齒數 .......................................................... 73
g00995886
圖 76
齒輪傳動系
This document is printed from SPI². Not for RESALE
![]()
![]()

![]()

34
技術規格部分
SCNR9778-02
水泵齒輪(未顯示)與噴油泵齒輪 (1) 之間的齒
隙 ...... 0.073 至 0.133 mm (0.0028 至 0.0052 in)
動力輸出裝置(如果配備)與惰齒輪 (3) 之間的
齒隙 ... 0.112 至 0.172 mm (0.0044 至 0.0068 in)
帶平衡器的發動機
g00996214
圖 77
機油泵的齒輪傳動系
(4) 曲軸齒輪
曲軸齒輪的孔徑 ............. 47.625 至 47.650 mm
(1.8750 至 1.8760 in)
g00996003
圖 78
曲軸輪轂的外徑 ............. 47.625 至 47.645 mm
(1.8750 至 1.8758 in)
平衡器齒輪
(7) 帶平衡器的機油泵惰齒輪
曲軸上齒輪的間隙 ............ 0.020 至 +0.020 mm
(-0.0008 至 +0.0008 in)
齒輪的齒數 ................................................ 44
惰齒輪的孔徑 ................ 37.197 至 37.212 mm
(1.4644 至 1.4650 in)
齒數 .......................................................... 34
(5) 機油泵惰齒輪
惰齒輪輪轂直徑 ............. 37.152 至 37.162 mm
(1.4627 至 1.4631 in)
惰齒輪軸向間隙 ..................... 0.12 至 0.27 mm
(0.0047 至 0.0106 in)
機油泵惰齒輪軸承的內徑 .. 16.012 至 16.038 mm
(0.6304 至 0.6314 in)
機油泵惰齒輪軸的外徑 ... 15.966 至 15.984 mm
(0.6286 至 0.6293 in)
(8) 帶平衡器的機油泵的齒輪
齒輪的齒數 ................................................ 17
軸上的機油泵惰齒輪軸承的間
隙 ...... 0.028 至 0.072 mm (0.0011 至 0.0028 in)
機油泵齒輪 (8) 與惰 齒輪 (7) 之間的齒
隙 .............. 0.097 至 0.17 mm (0.0038 至 0.0067 in)
機油泵惰齒輪的軸向間隙 .... 0.050 至 0.275 mm
(0.0019 至 0.0108 in)
(6) 機油泵齒輪
機油泵齒輪的齒數 ...................................... 17
齒隙值
惰齒輪 (5) 與機油泵驅動齒輪 (6) 之間的齒
隙 ...... 0.046 至 0.106 mm (0.0018 至 0.0041 in)
機油泵惰齒輪 (5) 與曲軸齒輪 (4) 之間的齒
隙 ...... 0.095 至 0.160 mm (0.0037 至 0.0063 in)
惰齒輪 (3) 與曲軸齒輪 (4) 之間的齒
隙 ...... 0.064 至 0.124 mm (0.0025 至 0.0049 in)
凸輪軸齒輪 (2) 與惰齒輪 (3) 之間的齒
隙 ...... 0.052 至 0.107 mm (0.0020 至 0.0042 in)
噴油泵齒輪 (1) 與惰齒輪 (3) 之間的齒
隙 ...... 0.054 至 0.109 mm (0.0021 至 0.0043 in)
This document is printed from SPI². Not for RESALE
![]()
![]()

![]()

SCNR9778-02
35
技術規格部分
i03874470
i03874468
飛輪
飛輪殼
四缸
g00631781
圖 80
(1) 螺栓
擰緊鑄鐵飛輪殼體螺栓至以下扭矩:
g00584712
圖 79
M10 “8.8” .................................. 44 N·m (33 lb ft)
M10 “10.9” ................................ 63 N·m (47 lb ft)
M12 “8.8” .................................. 75 N·m (55 lb ft)
M12 “10.9” .............................. 115 N·m (85 lb ft)
標準飛輪
(1) 飛輪齒圈
將飛輪齒圈加熱至以下溫度。 .. 250 °C (480 °F)
注: 不要采用氧乙炔火焰加熱飛輪齒圈。
(2) 飛輪
三缸
在三缸發動機上裝有背板。
(3) 螺栓
i03874451
曲軸皮帶輪
擰緊飛輪螺栓至以下扭矩。 ... 105 N·m (77 lb ft)
非標準 飛輪
注: 將非標準飛輪與曲軸上的銷子對齊。
g00915497
圖 81
標準皮帶輪
注: 在安裝以前先在螺栓的螺紋上涂上清潔的發動
機機油進行潤滑。
This document is printed from SPI². Not for RESALE
![]()
![]()

![]()

![]()

36
技術規格部分
SCNR9778-02
風扇驅動殼體
(1) 擰緊曲軸皮帶輪的三個緊固螺栓至以下扭
矩。 .................................... 115 N·m (85 lb ft)
擰緊將風扇驅動殼體固定到氣缸蓋上的緊固螺栓(圖
中沒有顯示)至以下扭矩。 .......... 44 N·m (32 lb ft)
注: 再檢查三個緊固螺栓 (1) 的扭矩兩次。
(2) 止推塊
殼體軸承孔內徑 ................... 61.986 至 62.005 mm
(2.4404 至 2.4411 in)
(3) 曲軸皮帶輪
軸承外徑 ............................. 61.987 至 62.000 mm
(2.4404 至 2.4409 in)
非標準皮帶輪
軸承過盈配合量 ..................... 0.014 至 - 0.018 mm
(0.0006 至 - 0.0007 in)
軸的外徑 ............................. 25.002 至 25.011 mm
(0.9843 至 0.9847 in)
軸的最大允許軸向間隙 ............ 0.20 mm (0.0079 in)
i03021694
發動機提升支架
g01126584
圖 82
所有發動機都配置兩個發動機提升支架。
(1) T 標記
(2) 對準標記
將每個發動機提升支架上的兩個螺栓擰緊至以下
扭矩。 .................................. 44 N·m (32 lb ft)
注: 當將皮帶輪安裝到發動機上以后,皮帶輪上的標
記 (1 和 2) 必須處于垂直位置。 發動機第一缸的活塞
必須處于上止點的位置。
i03874463
交流發電機
i03874457
風扇驅動
12 伏和 24 伏交流發電機
g00926178
圖 83
典型的風扇驅動
(1) 擰緊風扇緊固螺栓至以下扭矩。 ........... 22 N·m
(16 lb ft)
g00959541
擰緊將風扇皮帶輪固定到輪轂上的緊固螺栓(圖中
沒有顯示)至以下扭矩。 ............. 22 N·m (16 lb ft)
圖 84
典型的交流發電機
This document is printed from SPI². Not for RESALE
![]()
![]()

![]()

![]()

SCNR9778-02
37
技術規格部分
(1) 擰緊端子螺母 “W” 至以下扭矩 .. 2 N·m (17 lb in)
(2) 擰緊端子螺母 “D+” 至以下扭矩 ............ 4.3 N·m
(38 lb in)
(3) 擰緊端子螺母 “B+” 至以下扭矩 ............ 4.3 N·m
(38 lb in)
擰緊皮帶輪螺母(圖上未顯示)至以下扭
矩。 ........................................... 80 N·m (59 lb ft)
交流發電機皮帶輪和曲軸皮帶輪對準 ....... ± 2.4 mm
(0.0945 in)
旋轉方向 .................................................. 順時針
極性 ..................................................... 負極接地
V 形皮帶
注: 必須采用測量儀器檢查 V 形皮帶是否合格。 請參
閱《測試和調整》, “V 形皮帶測試”,以便獲取檢測
V 形皮帶所需測量儀器方面的信息。
V 形皮帶張緊力 .............................. 535 N (120 lb)
i03874438
起動馬達
24 V 起動馬達
g00974968
圖 85
24 V 起動馬達電氣接頭示意圖
(1) 擰緊負極端子螺母至以下扭矩。 ........... 15 N·m
(11 lb ft)
(2) 擰緊正極端子螺母至以下扭矩。 ........... 21 N·m
(15 lb ft)
This document is printed from SPI². Not for RESALE
![]()
![]()

38
技術規格部分
SCNR9778-02
(3) 擰緊電磁閥端子至以下扭矩。 ............. 3.5 N·m
(31 lb in)
額定電壓 ..................................................... 24 伏
吸拉電壓 ..................................................... 16 伏
12 V 起動馬達
g00977365
i03874432
圖 86
12 V 起動馬達電氣接頭示意圖
(1) 擰緊電磁閥端子至以下扭矩。 .. 8 N·m (70 lb in)
預熱塞
(2) 擰緊正極端子螺母至以下扭矩。 ............. 6 N·m
(53 lb in)
(3) 擰緊負極端子螺母至以下扭矩。 ............. 8 N·m
(70 lb in)
額定電壓 ..................................................... 12 伏
吸拉電壓 ...................................................... 8 伏
g00955714
圖 87
典型實例
(1) 擰緊缸蓋上的預熱塞 (3) 至以下扭矩 ..... 15 N·m
(11 lb ft)
擰緊安裝在預熱塞頂部的匯流板 (1) 的緊固螺母 (2)
至以下扭矩 .................................. 2 N·m (18 lb in)
電壓 .................................................. 12 或 24 伏
This document is printed from SPI². Not for RESALE
![]()
![]()

![]()

SCNR9778-02
39
技術規格部分
注: 并不是所有發動機上都安裝了預熱塞。 在沒有安
裝預熱塞的發動機上裝配了螺紋塞。
This document is printed from SPI². Not for RESALE
![]()
40
索引部分
SCNR9778-02
索引
丶
排氣歧管 ......................................................... 14
四缸發動機................................................... 14
三缸發動機................................................... 14
搖臂軸............................................................. 9
主軸承軸頸 ...................................................... 29
主軸瓦 ......................................................... 29
亠
曰
交流發電機 ...................................................... 36
12 伏和 24 伏交流發電機 ............................... 36
V 形皮帶 ...................................................... 37
曲軸................................................................ 25
曲軸密封 ......................................................... 28
曲軸皮帶輪 ...................................................... 35
非標準皮帶輪 ............................................... 36
曲軸箱呼吸器................................................... 21
發動機型號DK 和 DJ ......................................... 22
凵
凸輪軸............................................................. 14
凸輪軸軸承 ...................................................... 15
水
水泵................................................................ 23
水溫調節器和殼體 ............................................ 22
水溫調節器................................................... 23
活塞冷卻噴嘴................................................... 32
活塞冷卻噴嘴的對準 ..................................... 32
活塞和活塞環................................................... 31
活塞............................................................. 31
渦輪增壓器 ...................................................... 13
四缸發動機................................................... 13
三缸發動機................................................... 13
刀
前殼體和蓋 ...................................................... 32
又
發動機提升支架 ............................................... 36
發動機機油壓力 ............................................... 18
發動機機油旁路閥 ............................................ 19
安裝在機油泵中 ............................................ 19
安裝在平衡器中 ............................................ 19
發動機機油泵................................................... 16
帶平衡器的四缸發動機 .................................. 16
不帶平衡器總成的四缸和三缸發動機 .............. 18
發動機機油濾清器 ............................................ 16
旋裝式機油濾清器 ......................................... 16
可更換濾芯................................................... 16
發動機油底殼................................................... 20
前部密封膠................................................... 20
后部密封膠................................................... 20
鑄鐵油底殼................................................... 21
發動機設計 ...................................................... 4
四缸發動機................................................... 4
三缸發動機................................................... 4
火
燃油輸油泵 ...................................................... 8
燃油高壓油管................................................... 5
目
目錄................................................................ 3
缶
缸體................................................................ 23
四缸發動機................................................... 23
三缸發動機................................................... 24
缸蓋................................................................ 11
四缸發動機................................................... 11
三缸發動機................................................... 12
四缸發動機................................................... 12
三缸發動機................................................... 12
缸蓋氣門 ......................................................... 10
口
噴油器............................................................. 8
手
技術規格部分................................................... 4
挺桿總成 ......................................................... 9
排氣機構罩蓋................................................... 9
四缸發動機氣門室罩 ..................................... 9
三缸發動機氣門室罩 ..................................... 10
走
起動馬達 ......................................................... 37
24 V 起動馬達............................................... 37
12 V 起動馬達............................................... 38
This document is printed from SPI². Not for RESALE
![]()
SCNR9778-02
辵
41
索引部分
連桿 ................................................................ 29
連桿軸承軸頸................................................... 29
里
重要安全事項................................................... 2
頁
預熱塞............................................................. 38
風
風扇驅動 ......................................................... 36
風扇驅動殼體 ............................................... 36
飛輪 ................................................................ 35
非標準 飛輪 .................................................. 35
飛輪殼............................................................. 35
四缸............................................................. 35
三缸............................................................. 35
骨
高壓油泵 (Bosch EPVE 僅用于 1104 發動機上)... 6
高壓油泵 (Delphi DP210 DPA 和 DPG 燃油噴油
泵)........................................................................ 5
Delphi DP210..................................................... 5
Delphi DPA ........................................................ 5
Delphi DPG........................................................ 6
高壓油泵 (Delphi STP).......................................... 7
齒
齒輪總成(前) ......................................................... 33
帶平衡器的發動機 ......................................... 34
This document is printed from SPI². Not for RE