Perkins2806柴油發電機曲軸箱和氣缸套

Crankcase and cylinder liners
Thickness of spacer plate (H) .. ... ... ... ... ... ... ... ... ... ... ... ... ... . 8,585 +/- 0,025 mm (0.80 +/- 0.000 in)
Thickness of gasket fitted between spacer plate and crankcase... . 0,28 +/- 0,02 mm (0.0094 +/- 0.00 in)
Cylinder liner protrusion (H5) above the spacer plate ... ... ... ... ... ... 0,025 to 0,52 mm (0.000 to 0.0060 in)
Maximum variation in each cylinder liner ... ... ... ... ... ... ... ... ... ... ... ... ... ... ... ... ... ... ..0,05 mm (0.0020 in)
Maximum average variation between adjacent cy linder liners... ... ... ... ... ... ... ... ... ... ..0,05 mm (0.0020 in)
Maximum variation between all cylinder liners... ... ... ... ... ... ... ... ... ... ... ... ... ... ... ... .. 0,02 mm (0.0040 in)
Refer to Operation 7- for further cylinder liner information.
Protrusion of front cylinder head dowel (H6) above top face of crankcase ... 6,0 +/- 0,5 mm (0.6 +/- 0.02 in)
Protrusion of rear cylinder head dowel (H4) above top face of crankcase ... 8,5 +/- 0,5 mm (0.7 +/- 0.02 in)
Protrusion of oil transfer tube (H7) above top face of crankcase... ... ... ... ... 20,0 +/- 0,5 mm (0.79 +/- 0.02 in)
Protrusion of flywheel housing dowels (H) from rear face of crankcase .. ... 9, +/- 0,5 mm (0.75 +/- 0.02 in)
Protrusion of gear case dowels (H8) from front face of crankcase ... ... ... ... 9, +/- 0,5 mm (0.75 +/- 0.02 in)
Plug (H2) must be tightened to a torque of ... ... ... ... ... ... ... ... ... ... ... ... ... ... ... 70 +/- 0 Nm (52 +/- 7 lbf ft)
The total flatness of the top face of the crankcase must be within 0,0 mm (0.004 in). The flatness must also
be within 0,05 mm (0.002 in) for any 77,5 mm (6.99 in) section of the surface.
Continued


2800
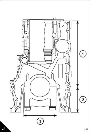
Distance from top of crankcase to centre of main
bearing bore (J) . ... ... ... ... ... ... ... ... ... ... ... ... ... ... ... ... ... ... ... . 425,45 +/- 0,5 mm (6.750 +/- 0.006 in)
Minimum permissible (J) ... ... ... ... ... ... ... ... ... ... ... ... ... ... ... ... ... ... ... ... ... ... ... .. 425,02 mm (6.7 in)
Distance from bottom of crankcase to centre of main
bearing bore (J2) . ... ... ... ... ... ... ... ... ... ... ... ... ... ... ... ... ... ... ... ... 65,0 +/- 0,0 mm (6.500 +/- 0.004 in)
Bore in new cylinder liner - 206 engine (K).. ... ... ... ... ... ... ... 7,85 +/- 0,025 mm (5.400 +/- 0.000 in)
Bore in new cylinder liner - 2806 engine (K).. ... ... ... ... ... ... ... 9,685 +/- 0,025 mm (5.4994 +/- 0.000 in)
Thickness of liner flange (K2).. ... ... ... ... ... ... ... ... ... ... ... ... ... ... 8,890 +/- 0,020 mm (0.500 +/- 0.0008 in)
Minimum thickness permissible (K2) ... ... ... ... ... ... ... ... ... ... ... ... ... ... ... ... ... ... ... ... 8,870 mm (0.492 in)