Perkins1103/1104柴油發動機惰齒輪-拆卸和安裝
Perkins1103/ 4柴油發動機惰齒輪拆卸方法與步驟

a.如果以前沒有拆卸前蓋,將其拆下。請參閱本《Perkins1103/1104柴油發動機解體和組裝手冊》,“殼體(前)蓋-拆卸和安裝”。
注:Perkins三缸發動機可以配備DelphiDP210或DelphiDPG噴油泵。
注:Perkins四缸發動機可以配備DelphiDP210、DelphiDPA或BoschEPVE噴油泵。不同類型的噴油泵用不同的步驟鎖定噴油泵軸。

Perkins1103/1104柴油發動機惰齒輪典型示例(Bosch噴油泵驅動齒輪)

Perkins1103/1104柴油發動機惰齒輪典型示例(Delphi噴油泵驅動齒輪)
1.確保1號汽缸在其壓縮沖程的上止點位置。請參閱《Perkins1103/1104柴油發動機測試和調整手冊》,“確定1號活塞的上止點位置”。用手逆時針方向向噴油泵齒輪(1)i施加足夠的壓力來消除齒輪的齒隙(2)。標記每個齒輪的方位以便于安裝。
注:正時銷用于在上止點對發動機正時。正時銷是一個開口銷。不要用過大的力安裝正時銷。不要在維修期間用正時銷鎖定發動機。
2.如果以前沒有安裝正時銷,將27610211曲軸正時銷(3)穿過前殼體插入曲軸連接臂中。如果以前沒有安裝正時銷,將27610212凸輪軸正時銷(4)穿過凸輪軸齒輪(5)并插到前殼體中。
3.如果以前沒有拆卸搖臂軸,將其拆下。請參閱本《Perkins1103/1104柴油發動機解體和組裝手冊》,“搖臂軸和推桿-拆卸”。
4.如果以前沒有拆下噴油泵齒輪(1),將其拆下。請參閱本《Perkins1103/1104柴油發動機解體和組裝手冊》,“前齒輪總成-拆卸”。

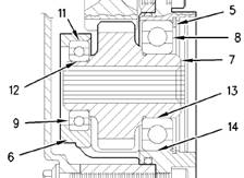
5.從惰齒輪(8)拆下三個調整螺釘(6)。從惰齒輪(8)拆下板(7)。


標準Perkins1103/1104柴油發動機惰齒輪組件
6.從缸體凹槽(10)中拆下惰齒輪(8)的組件(9)。向前移動組件時,必須將組件(9)吊到曲軸前油封(11)殼體的上方。
7.解體惰齒輪(8)的組件(9)和輪轂。為了解體標準組件(9),將輪轂(12)滑出惰齒輪(8).檢查惰齒輪(8)中的襯套(13)有無磨損或損壞。如有必要,從惰齒輪(8)的每側拆下襯套(13)。

重型Perkins惰齒輪組件
8.為了解體重型惰齒輪組件,將輪轂(12)推壓出軸承組件(16)。從惰齒輪(8).拆下簧圈(14)和止推墊圈(15)。如果軸承組件(16)磨損和/或損壞,將軸承組件滑出惰齒輪(8)。棄置軸承組件(16)。拆卸簧圈(17)和止推墊圈(18)。
Perkins1103/1104柴油發動機惰齒輪安裝方法與步驟

1.清潔并檢查在以前步驟中拆卸的所有部件。如有必要,更換所有磨損和/或損壞的部件。

Perkins典型示例(Delphi噴油泵驅動齒輪)
注:正時銷用于在上止點對發動機正時。正時銷是一個開口銷。不要用過大的力安裝正時銷。不要在維修期間用正時銷鎖定發動機。
2.確保1號氣缸仍處在其壓縮沖程的上止點位置。如有必要,請參閱《Perkins1103/1104柴油發動機測試和調整手冊》,“查找1號活塞的上止點位置”。確保安裝了曲軸正時銷(3)和凸輪軸正時銷(4)。

注:組裝惰齒輪和輪轂的組件(9)時,確保惰齒輪(8)上的標記(19)朝向發動機前端。

標準惰齒輪組件
3.組裝惰齒輪和輪轂的組件(9)。為了組裝標準組件,如果以前拆下了襯套(13),將新襯套壓入惰齒輪(8)。用清潔的發動機機油潤滑輪轂(12)。將輪轂(12)滑入惰齒輪(8)。確保機油孔(20)在輪轂(12)頂部以及標記(19)在惰齒輪(8)前部。

重型惰齒輪組件
注:新軸承組件(16)隨附有防護套。不要拆卸防護套。防護套可防止滾柱從滾柱軸承掉出。
4.為了組裝重型惰齒輪,將簧圈(17)裝入惰齒輪(8)的背面。將惰齒輪(8)的背面放置在干凈、平坦的表面上。將止推墊圈(18)穿過惰齒輪(8)安裝到簧圈(17)上。確保軸承組件(16)的法蘭表面朝向底部,而防護套仍然保持在原位。將新軸承組件(16)嵌入惰齒輪(8)中。將新軸承組件(16)壓入惰齒輪(8),直到軸承組件接觸止推墊圈(18)。將軸承組件(16)壓入惰齒輪(8)后,防護套仍然保持在惰齒輪頂面。棄置保護襯套。安裝止推墊圈(15)和簧圈(14)。用清潔的發動機機油輕輕潤滑輪轂(12)。將輪轂(12)壓入惰齒輪(8)。

5.將惰齒輪和輪轂的組件(9)吊到曲軸前油封(11)殼體的上方,并將輪轂嵌入缸體的凹槽(10)中。
注:確保油孔(20)位于輪轂(12)頂部。
注:確保惰齒輪組件(9)的標記(19)與凸輪軸齒輪和曲軸齒輪的標記對齊。參見圖171。
6.將板(7)的孔與輪轂(12)的孔對齊。將調整螺釘(6)穿過板(7)并裝入輪轂(12)中。
7.將調整螺釘(6)均勻擰緊至扭矩44N·m(32lbft)。

8.檢查惰齒輪的軸向間隙。有關更多信息,參見圖177和《技術參數手冊》,“前齒輪總成”。

9.檢查惰齒輪和凸輪軸齒輪之間的齒隙。有關更多信息,參見圖178和《技術參數手冊》,“前齒輪總成”。
10.檢查惰齒輪和曲軸齒輪之間的齒隙。更多信息,請參閱《技術參數手冊》,“前齒輪總成”。
注:Perkins三缸發動機可以配備DelphiDP210或DelphiDPG噴油泵。
注:Perkins四缸發動機可以配備DelphiDP210、DelphiDPA或BoschEPVE噴油泵。不同類型的噴油泵用不同的步驟鎖定噴油泵軸。
11.安裝噴油泵齒輪。請參閱本《Perkins1103/1104柴油發動機解體和組裝手冊》,“前齒輪總成-安裝”。
12.拆卸曲軸正時銷(3)和凸輪軸正時銷(4)。
13.使用清潔的發動機機油稍加潤滑所有的齒輪。
a.安裝搖臂軸。請參閱本《Perkins1103/1104柴油發動機解體和組裝手冊》,“搖臂軸和推桿-安裝”。
b.如果以前拆下了預熱塞,將其安裝上。請參閱本《Perkins1103/1104柴油發動機解體和組裝手冊》,“預熱塞-拆卸和安裝”。
c.安裝殼體(前)蓋。請參閱本《Perkins1103/1104柴油發動機解體和組裝手冊》,“殼體(前)蓋-拆卸和安裝”。
殼體(前)-拆卸
拆卸方法與步驟
a.將冷卻液排入適當的容器中,以便保存或處理。
b.拆下風扇驅動裝置。請參閱本《Perkins1103/1104柴油發動機解體和組裝手冊》,“風扇驅動裝置-拆卸和安裝”。
c.如有必要,拆下交流發電機。請參閱本《Perkins1103/1104柴油發動機解體和組裝手冊》,“交流發電機-拆卸”。
d.拆下噴油泵。參閱本《Perkins1103/1104柴油發動機解體和組裝手冊》,“噴油泵–拆卸”中的相應噴油泵。
e.拆卸發動機油底殼。請參閱本《Perkins1103/1104柴油發動機解體和組裝手冊》,“發動機油底殼-拆卸和安裝”。
f.拆下前齒輪總成。請參閱本《Perkins1103/1104柴油發動機解體和組裝手冊》,“前齒輪總成-拆卸”。
1.拆下調整螺釘(1)。從缸蓋上卸下旁通管(2)。從旁通管(2)上取下O形圈。棄置O形圈。

2.拆下將前殼體(5)固定至缸體的調整螺釘(3)和調整螺釘(4)。
3.卸下前殼體(5)。從缸體和前齒輪室(5)上拆下接頭(6)。
4.從前齒輪室(5)的后面拆下接頭(7)。

5.從凸輪軸(9)上拆下止推墊圈(8)。
Perkins1103/1104柴油發動機殼體(前)-安裝
安裝方法與步驟

注:三缸和Perkins四缸發動機的安裝方法與步驟相似。圖示為Perkins四缸發動機。

1.徹底清潔缸體上前齒輪室的配合面。將兩個臨時用雙頭螺柱(1)裝入缸體中。確保止推墊圈(2)與空心定位銷(3)對齊。將止推墊圈安裝到凸輪軸(4)上。將新的接頭(5)安裝到缸體上。

2.徹底清潔前齒輪室(6)。尤其要清潔前齒輪室(6)的配合面。檢查前齒輪室(6)有無磨損和損壞。如有必要,更換前殼體(6)。
注:如果要更換前齒輪室(6),還需安裝封口塞,將其安裝到前齒輪室中應使用適當的密封膠密封。
3.將新接頭(7)安裝到前齒輪室(6)上。

Perkins1103/1104柴油發動機殼體典型示例
4.將27610216對中工具(8)裝入缸體凹槽中。將前齒輪室(6)安裝到缸體上。
5.安裝調整螺釘(9)。用手擰緊調整螺釘(9)。除有臨時用雙頭螺柱(1)的兩個孔外,安裝調整螺釘(10)。用手擰緊調整螺釘(10)。拆下兩個臨時用雙頭螺柱(1)。安裝其余的調整螺釘(10)。用手擰緊其余的兩個調整螺釘(10)。
6.將前齒輪室(6)與缸體(11)下加工面對齊。使用適當的直尺和塞尺,檢查對中度(11)公差。更多信息,請參閱《技術參數手冊》,“殼體(前)和殼體(前)蓋”。
7.對中度符合公差要求時,擰緊調整螺釘(9)和調整螺釘(10)至扭矩為22N·m(16lbft)。取下定位工具(8)。

8.將新O形圈安裝到旁通管(12)上。在O形圈上涂抹POWERPART21820221紅色橡膠潤滑脂。將旁通管(12)安裝到缸蓋中。安裝調整螺釘(13)。
a.安裝前齒輪總成。請參閱本《Perkins1103/1104柴油發動機解體和組裝手冊》,“前齒輪總成-安裝”。
b.安裝發動機油底殼。請參閱本《Perkins1103/1104柴油發動機解體和組裝手冊》,“發動機油底殼-拆卸和安裝”。
c.安裝噴油泵。參閱本《Perkins1103/1104柴油發動機解體和組裝手冊》,“噴油泵–安裝”中的相應噴油泵。
d.如果之前拆下過交流發電機,安裝交流發電機。請參閱本《Perkins1103/1104柴油發動機解體和組裝手冊》,“交流發電機-安裝”。
e.安裝風扇驅動裝置。請參閱本《Perkins1103/1104柴油發動機解體和組裝手冊》,“風扇驅動裝置-拆卸和安裝”。
f.在合適的時機,加滿冷卻系統。
附件驅動-拆卸和安裝
Perkins1103/1104柴油發動機殼體拆卸方法與步驟

1.拆下調整螺釘(1)和前蓋(2)。
2.拆下內六角螺釘(3)和(4)。從前殼體(6)的后面板拆下附助驅動組件。
3.拆下彈性擋圈(5)。
4.將前殼體(6)的法蘭盤放置到一個合適的支座上。從前殼體(6)推壓出齒輪(7)以及軸承(8和9)的組件。為了從齒輪(7)拆下軸承(8和9),使用一個合適的拉拔器。
5.從前殼體(6)拆下O形圈(10),并且丟掉這個O形圈。
Perkins1103/1104柴油發動機殼體安裝方法與步驟

1.檢查齒輪(7)的齒和花鍵、軸承(8和9)、彈性擋圈(5)以及前殼體(6)中彈性擋圈凹槽的磨損和損壞情況。更換任何磨損或者損壞的零件

2.將一層少量、連續的(11)21820603POWERPARTRetainer(耐油)涂到軸承(9)的外表面上。將前殼體(6)的前法蘭放置到一個合適的支座上。按壓軸承(9)的外座圈,直至軸承靠到前殼體(6)中軸承的凹口前面。清除所有多余的密封膠。
3.將一層少量、連續(12)的21820603POWERPARTRetainer(耐油)涂到軸承(9)的內表面上。將軸承(9)內座圈的正面放置到一個合適的支座上。將齒輪(7)較小的軸按入軸承(9)中,使齒輪的肩抵到軸承上。清除所有多余的密封膠。
4.將一層少量、連續(14)的21820603POWERPARTRetainer(耐油)涂到軸承(8)的外表面上。將一層少量、連續(13)的21820603POWERPARTRetainer(耐油)涂到軸承(8)的內表面上。確保軸承(9)內座圈的前面仍在一個合適的支座上。將軸承(8)按壓到齒輪(7)的較大軸上,直至軸承(9)靠到齒輪的肩上。清除所有多余的密封膠。
5.將彈性擋圈(5)安裝到前殼體(6)中的凹槽里。確保卡環(5)在凹槽中的位置正確。

Perkins1103/1104柴油發動機殼體典型示例
6.參見圖例190,并且檢查惰輪和齒輪(7)之間的齒隙。齒隙應為0.11mm(0.004in)至0.17mm(0.007in)。
7.用21820221POWERPARTRedRubberGrease輕輕潤滑一下新的O形密封圈(10),并且將這個O形密封圈安裝到前殼體(6)中的凹口里。使用清潔的發動機機油稍加潤滑軸承(8)、軸承(9)和齒輪(7)。
8.使用內六角螺釘(3和4),將附件驅動組件安裝到前殼體(6)的后面。擰緊六角頭螺釘至扭矩為22N·m(16lbft)。
9.使用調整螺釘(1),安裝前蓋(2)。請參閱本《Perkins1103/1104柴油發動機解體和組裝手冊》,“殼體(前)蓋-拆卸和安裝”。