Perkins珀金斯柴油發動機連桿軸瓦-(連桿在位)

安裝步驟

注:可以使用兩個工具(A)中的任意一個。請使用最適用的工具。
注意保持所有零件清潔無雜質。雜質會造成快速磨損和縮短部件壽命。
1檢查曲軸銷有無損壞。如果曲軸已損壞,更換曲軸。有關正確的步驟,請參閱《拆解和組裝》,“曲軸-拆卸”和《拆解和組裝》,“曲軸-安裝”。確保軸瓦清潔且無磨損或損壞。如有必要,更換軸瓦。

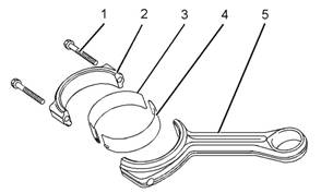
2將上軸瓦(4)安裝到連桿(5)上。確保上軸瓦的定位凸舌正確座入連桿的槽中。
注:上軸瓦的兩端必須位于連桿中央。上軸瓦的兩端與連桿配合面的距離必須相等。
3.使用清潔的發動機機油潤滑上軸瓦(4)。
4.使用工具(A)轉動曲軸,使曲軸銷在下止點位置。
5.小心地拉動連桿(5),使其抵到曲軸銷上。
注:不要使連桿接觸活塞冷卻噴嘴。
6.清潔連桿蓋(2)。將下軸瓦(3)安裝到連桿蓋(2)上。確保下軸瓦的定位凸舌正確座入連桿蓋的槽中。
7.使用清潔的發動機機油潤滑曲軸銷和下軸瓦(3)。

8將連桿蓋(2)安裝到連桿(5)上。
9使用工具(B)將新螺栓(1)安裝到連桿上。均勻擰緊螺栓至扭矩為40N·m(30lbft)。
10.順時針方向將螺栓再轉動120度。使用工具(B)和工具(C)以獲得正確的最終扭矩。
11.確保連桿組件安裝后有能感覺到的側隙。轉動曲軸,確保沒有卡滯。
12.重復步驟2至步驟11,以便安裝其余的連桿軸瓦。
注:如果需要更換所有連桿軸瓦,可以同時在兩個氣缸上進行本程序。本程序可在下列氣缸配對上同時進行。1和6,2和5和3和4。確保在從一對氣缸換到另一對氣缸之前安裝完兩對連桿軸瓦。有關正確的步驟,請參閱《拆解和組裝》,“連桿軸瓦-安裝”。
13.如果卸下了電熱塞,安裝電熱塞。有關正確的步驟,請參閱《拆解和組裝》,“電熱塞-拆卸和安裝”。
結束:
a.安裝發動機機油泵。有關的正確步驟,請參閱《拆解和組裝》,“發動機機油泵-安裝”。