檢查Perkins珀金斯發動機活塞冷卻噴嘴

圖 49
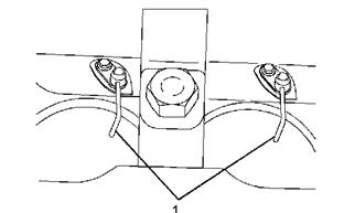
(1) 已安裝的活塞冷卻噴嘴
氣門必須能夠自由運動。 螺栓的扭矩 .. 9 N•m (7 lb ft)
活塞冷卻噴嘴對準

圖 50
(2) 活塞冷卻噴嘴
(3) 桿
(4) 缸體
按照以下步驟檢查活塞冷卻噴嘴的對準度。
1. 將桿 (3) 插入活塞冷卻噴嘴 (2) 的端部。 桿 (3) 的直徑為 1.70 mm (0.067 in)。 桿 (3) 必須高出缸體的頂部。
2. 尺寸 (A) 為 58.5 mm (2.30315 in),尺寸 (B) 為13.5 mm (0.53150 in)。 尺寸 (A) 及尺寸 (B) 與氣缸內徑 (4) 相切。
3. 桿 (3) 的位置必須在尺寸 (C) 范圍內。 尺寸 (C) 為10 mm (0.39370 in)。

注: 檢查對準度時要確保桿 (3) 不會損壞活塞冷卻噴嘴。 活塞冷卻噴嘴不能調整。 如果活塞冷卻噴嘴不能對準,則必須更換。