道依茨BF6M1013柴油發動機單體泵的安裝步驟
F2L1011、F3L1011、F4L1011、F2L912/3、F3L912/3、F4L912/3、BF4L914、BF4M1011F、F4M1011F、F3M1011F、BF4M2012、BF4M1013、F8L413
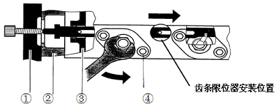
1.將調速齒條放到停車位置,可用一螺釘頂住齒條 (或用齒條限位器安裝在停油電磁閥位置上頂住齒條) 。
2.將所要安裝的泵的凸輪轉到基圓位置,將泵放入缸體中。
3.用5Nm預緊單體泵固定螺栓,再松60°。
4.用一個扭力搬手轉動單體泵,同時確定轉動所需的摩擦扭矩N。
5.反時針轉動單體泵,直到扭矩達到(N+1)Nm后上緊壓泵固定螺栓到60°
6.交替擰緊高壓泵固定螺栓,擰緊步驟為7Nm,10Nm,30Nm.
注意:安裝噴油泵壓板時一定注意倒角一面必須面向噴油泵體先從前端的螺栓開始。

1.專用工具,2.外殼,3.齒條導套,4.單體泵固螺栓。